企業ロゴ

IBPテクノロジー株式会社

IBPテクノロジーは海外の優れた最新のハイテク部品を紹介している技術貿易商社です。

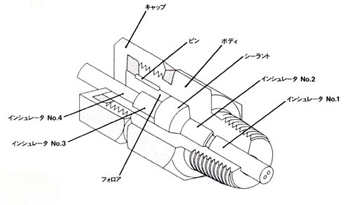
エネルギー・半導体・高圧/真空・製薬業界向けに海外の先端技術を紹介している企業です。発電タービン・真空・高圧装置から各種センサー線の取出し口をシールするフィードスルー、ステンレス・セラミック製充てんポンプ、打錠機用杵・臼、テクニカルセラミックチューブ、使い捨て温度データロガー、磁界測定機などを取り扱っています。

企業概要

会社名 IBPテクノロジー株式会社
(IBPてくのろじーかぶしきがいしゃ)
所在地 〒 650-0047
兵庫県神戸市中央区港島南町5丁目5-2 KIBCビル2F
設立 1978年11月30日
FAX 078-304-5032
WEBサイト http://www.ibptech.jp
業種 卸売業

IBPテクノロジー株式会社へのお問い合わせ

お客様情報
お名前*
電話番号*
ハイフン付き電話番号をご入力ください。
会社名*

取扱製品分類

公開中の特集